电池装车顶 福特申报汽车充电宝专利
2023-06-13 11:06:50
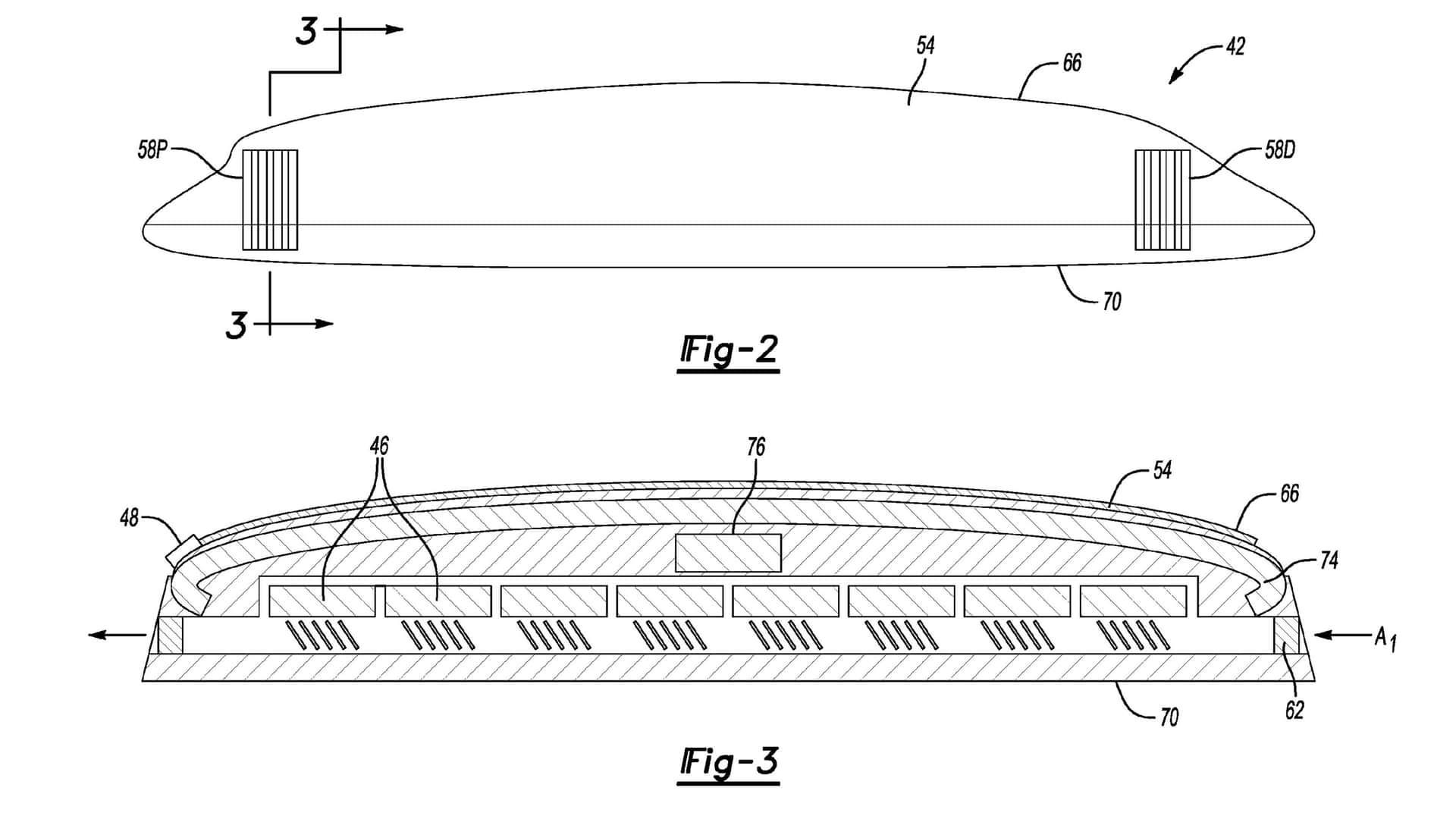
今天,福特各类车子在欧美高新产品和公司商标局呈交好几个项電動各类车子外置电瓶的高新产品,给電動各类车子丰富格外的电能,能说得上是个大号的各类车子笔记本手机充电宝。









